Kracht vs Koppel bij een flexibele koppeling

Vaak worden kracht, vermogen en koppel door elkaar gehaald binnen aandrijftechniek. Onlangs kreeg ik, als productspecialist aandrijftechniek, een vraag binnen over dit onderwerp. Een mooi moment om deze case samen te behandelen.

Klantcase

"Ik heb een 1.5 kW elektromotor en wil een as aandrijven. Welke koppeling heb ik hiervoor nodig? Ik wil graag een taperlock klembus-uitvoering voor gemakkelijke montage.'

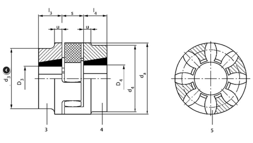
Voor het gemak gaan we uit van een TRASCO (GRB)-klauwkoppeling van SIT zoals hieronder afgebeeld. Deze is bouwgelijk aan Rotex.

De eerste vraag die ik een klant stel, is: welk toerental draait de motor en wat zijn de as-maten van de beide zijden? In dit geval 1.500 toeren, bij as-maten van 20mm links en 30mm rechts. In de tabel van de leverancier kom ik nergens een tabel met vermogen tegen. Deze gebruiken allemaal het koppel om op de juiste bouwgrootte te komen.

Koppelformule

Met de koppelformule T = (P x 9.550) / n kun je het koppel berekenen.

  • T = Koppel

  • P = Vermogen

  • 9.550 = Een gegeven waarde

  • N = Aangedreven toerental

In dit geval is de formule dus: T = (1.5 x 9.550) / 1.500 

Dit wordt: T = 9.55 Nm

Ga hier naar de online calculator

Volgens de onderstaande tabel zou een bouwgrootte 19 kunnen volgens het koppel. We gebruiken altijd het 'nominal' koppel in verband met de standtijd van de koppeling.

De grootste as-maat gooit echter roet in het eten. Door de tweede as-maat van 30 millimeter gaan we automatisch naar een koppeling met bouwgrootte 42 (zie onderste tabel).

De oplossing

Voor deze klant hebben we de volgende onderdelen geselecteerd:

  • 2 x GRMB4255B2 (koppelingshelft)

  • 1 x 161020TLKR (taperbus met boring 20mm en spiebaan)

  • 1 x 161030TLKR (taperbus met boring 30mm en spiebaan)

  • 1 x HW954292 (verbindende kunststof ster zodat beide metalen helften elkaar niet raken)